El jumbo de empernado hidráulico HT92 ha sido diseñado específicamente para empernar rocas en minas y túneles subterráneos con paredes de roca estructuralmente complejas y formaciones rocosas muy dañadas. Nuestro principal objetivo es garantizar la seguridad y la calidad de la instalación de los pernos. Nuestro jumbo empernador minero de alto rendimiento garantiza la seguridad y la comodidad del operario durante los trabajos subterráneos.
El jumbo de empernado es ideal para galerías y túneles con una sección transversal mínima de 2,8 × 2,8 m. Se caracteriza por su estructura compacta, su bajo consumo de combustible, su bajo nivel de ruido y su alta eficiencia de trabajo. El tipo de potencia de este equipo de empernado puede cambiarse fácilmente para adaptarse a diferentes trabajos subterráneos. Este tipo de maquinaria es ampliamente utilizado para reforzar rocas en galerías, túneles y cavernas, proporcionando seguridad a los trabajadores y equipos subterráneos.
| Número de varillas | 10 pzas |
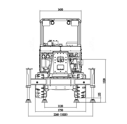
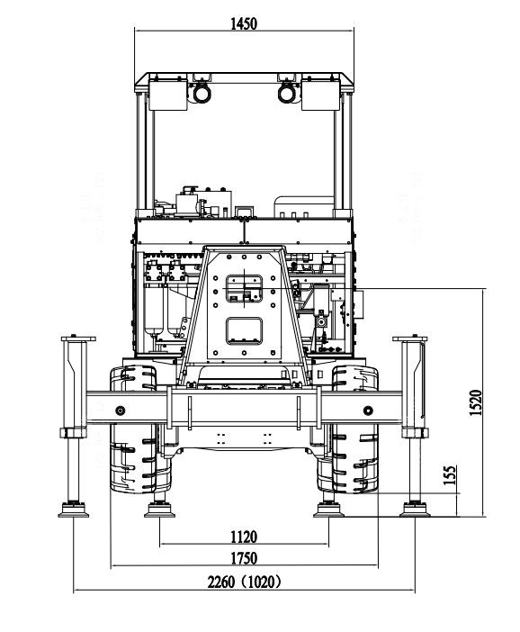
| Dimensiones totales (Largo×Ancho×Alto) | 10000×1750×2070(2780)mm |
| Martillo de perforado | RC1200, HC25 |
| Potencia (mertillo de perforado) | 14 kW / 8 kW |
| Longitud total (viga de avance) | 3070 / 3200 mm |
| Longitud de la varilla de perforación | 2475 mm |
| Perno de anclaje tipo split | 2000 mm |
| Perno inyectado con resina | 2200 mm |
| Profundidad del agujero | 2280 mm |
| Longitud del perno de roca | 1500-2500 mm |
| Longitud del perno retráctil | 900 mm |
| Fuerza de viga de avance | 10 kN |
| Extensión de la viga de avance | 480 mm |
| Pluma (ángulo de elevación/inclinación) | 50°/-30° |
| Ángulo de giro del brazo | ±35° |
| Potencia del motor principal | 55 kW |
| Tensión nominal | 380V (puede personalizarse) |
| Gradeabilidad | 14° |
| Peso total | 13.5 T |
| Longitud del cable | 70 m |
Huatai es una empresa china especializada en el diseño y la producción en serie de equipos de perforación de rocas. Desde nuestra creación en el año 2000, en Huatai nos hemos dedicado a la fabricación de productos de vanguardia y a proporcionar servicios integrales a varias empresas en los sectores de la minería, metalurgia e ingeniería de cimientos.
Huatai lleva 20 años innovando y desarrollándose en el sector de la minería subterránea y la perforación de rocas, superándose constantemente y llenando una serie de vacíos en el mercado chino. En la actualidad, nuestra gama de productos incluye más de 30 tipos de martillos mineros divididos en tres categorías principales, que son, equipos de minería subterránea, equipos de minería de carbón y máquinas para la perforación de pozos. A través de años de crecimiento y mejora continuos, hemos logrado ganar una buena reputación en la industria nacional de perforación de rocas, mejorando la seguridad, la eficiencia y la rentabilidad de los trabajos de minería subterránea y las operaciones de construcción de túneles.
El jumbo hidráulico de perforación de pozos GYSJZ es una máquina de perforación especializada y de alto rendimiento desarrollada para satisfacer las demandas de la excavación de pozos verticales profundos y de roca dura. La maquinaria de perforación está impulsada por un robusto motor de 132kW y equipada con tres derivadores hidráulicos de alta resistencia, lo que le permite manejar diámetros de perforación de 4 a 6 metros.
Más +
El jumbo de perforación de pozos YSJZ es una máquina de perforación de rocas diseñada específicamente para la construcción de pozos en minas de mineral de hierro y metales no ferrosos. El equipo de perforación de pozos es una excelente opción para proyectos de minería y construcción subterránea en los que no se puede recurrir a otros métodos de perforación debido a limitaciones técnicas o económicas.
Más +
La perforadora de eje vertical de la serie SJZ es un equipo diseñado especialmente para la perforación de barrenos para la construcción de pozos verticales. Es adecuada para perforar pozos de varios diámetros y se caracteriza por su funcionamiento flexible, su posicionamiento preciso, su seguridad y su fiabilidad.
Más +
Diseñada específicamente para formaciones rocosas de dureza media, el drifter hidráulico o martillo de perforación hidráulico RC600 ofrece una perforación potente y precisa en una amplia gama de aplicaciones exigentes.
Más +